H76H對夾蝶式止回閥
- 銷售:021-32051999
- 銷售:021-32050777
- 傳真:021-66099555
詳情介紹
- 產品介紹
- 服務承諾
- 訂貨流程
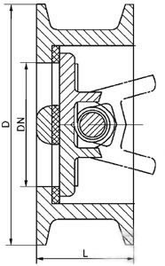
H76H對夾蝶式止回閥用于純凈管路及工業、環保、水處理、高層建筑給排水管路,阻止介質逆向流動之用。該止回閥采用對夾式,蝶板為兩個半圓,且采用彈簧強制復位,密封面可為本體堆焊耐磨材料或襯橡膠,使用范圍廣,密封可靠。
主要技術參數
公稱通徑 | DN(mm) | 50~1200 | |||
公稱壓力 | PN(MPa) | 1.0 | 1.6 | 2.5 | 4.0 |
試驗壓力Ps(MPa) | 強度試驗 | 1.5 | 2.4 | 3.75 | 6.0 |
密封試驗 | 1.1 | 1.76 | 2.75 | 4.4 | |
適用介質 | 水、蒸汽、油品、污水、酸堿類 | ||||
適用溫度 | 橡膠密封面(X)-20℃~120℃ | ||||
主要零件材料
名稱 | 材料 |
閥體 | 鑄鐵、鑄鋼、不銹鋼、鉻鎳鉬鈦鋼 |
閥板 | 鑄鐵、鑄鋼、不銹鋼、鉻鎳鉬鈦鋼 |
閥桿 | 碳鋼、2Cr13、不銹鋼、鉻鎳鉬鈦鋼 |
密封圈 | 橡膠、不銹鋼、合金鋼 |
彈簧 | 60Si2Mn、3Cr13、17-7PH、INCONEL |

H76X-6/10連接尺寸
通徑DN | 50 | 65 | 80 | 100 | 125 | 150 | 200 | 250 | 300 | 350 | 400 | 450 | 500 | 600 | 700 | 800 | 900 | 1000 | 1200 |
L | 43 | 46 | 64 | 64 | 70 | 76 | 89 | 114 | 114 | 127 | 140 | 152 | 152 | 178 | 229 | 241 | 241 | 300 | 360 |
D | 100 | 120 | 135 | 155 | 185 | 185 | 265 | 320 | 368 | 428 | 482 | 532 | 585 | 685 | 800 | 905 | 1005 | 1115 | 1325 |
H76H/W-16/25/40連接尺寸
通徑DN | 50 | 65 | 80 | 100 | 125 | 150 | 200 | 250 | 300 | 350 | 400 | 450 | 500 | 600 | |
L | PN1.0/1.6/2.5 | 60 | 67 | 73 | 73 | 83 | 98 | 127 | 146 | 181 | 184 | 198 | 203 | 219 | 222 |
PN4.0 | 60 | 67 | 73 | 73 | 83 | 98 | 127 | 146 | 181 | 222 | 231 | / | / | / | |
D | PN1.0 | 107 | 127 | 142 | 162 | 192 | 218 | 273 | 328 | 378 | 438 | 489 | 539 | 594 | 695 |
PN1.6 | 107 | 127 | 142 | 162 | 192 | 218 | 273 | 328 | 378 | 444 | 495 | 555 | 617 | 734 | |
PN2.5 | 107 | 127 | 142 | 168 | 194 | 224 | 284 | 340 | 400 | 458 | 514 | / | / | / | |
PN4.0 | 107 | 127 | 142 | 168 | 194 | 224 | 290 | 352 | 417 | 474 | 546 | / | / | / | |
良好的品質、優良的服務 奇高為你創造更多價值!
“奇高閥門”的期望,不斷提升服務質量,精益求精,“真誠的服務”是“奇高”永恒的主題。“奇高”嚴格按照IS09001-2000 質量體系認證要求,質量嚴格把關, 責任到人,確保生產、銷售、服務的健康運行。加強與用戶溝通,竭誠為廣大客戶提供優良產品,貼心服務。特此我廠做出以下承諾:
產品標準:
產品嚴格按照中國GB、HG 標準和美國API等標準設計、制造、驗收。密封面硬度達到國家規定要求,寬度超過國家標準。
售前服務:
產品介紹,技術交流,非標產品設計,疑難解答。
售中服務:
守信合同,及時供貨,隨時保持與客戶聯系。 對特殊或復制的產品,我廠安排技術人員對用戶進行產品使用、故障排除
售后服務:
1、“奇高”牌產品品質期為自出廠起12個月,實行“三包”服務(包退、包換、保修)。
2、產品在使用中我廠定期組織技術、質檢人員進行訪問,征詢用戶對產品質量、 使用狀況、改進意見等方面的反饋, 以便進一步提高產品質量。
3、對用戶投訴質量問題,快速作出反應,售后服務人員在24-36小時(省外48小時)趕赴現場。
4、對售后服務,要求用戶填寫服務后的質量反饋信息表,并作出鑒定意見,以便提高奇高的服務質量。
1、客戶如對產品有特殊要求,須在訂貨合同中提供以下說明:
a、結構長度;
b、連接形式;
c、公稱直徑、全通徑、縮徑、管道尺寸;
d、運行介質及溫度、壓力范圍;
e、試驗、檢驗標準及其他要求
2、本廠可根據客戶特定要求配置各類驅動裝置。
3、如由客戶提供確定的閥門類型和型號時,客戶應正確說明其型號的含義和要求,在供需雙方理解一致的條件下簽訂合同。
4、期貨、訂貨的客戶請先來電函詳細告訴所需的閥門型號、規格、數量以及交貨時間、地點,并按總的30%預定金或全額貨款及時匯入我廠帳戶,其余貨款待發貨前匯入,以便及時安排發貨。
訂單流程:
1、客戶采購清單傳真至021-33872143,或來電咨詢 021-33872141
2、收到客戶采購清單,為客戶提供閥門型號選型與報價(價格清單)。
3、具體商定:交貨期、特殊要求等事宜。
訂貨須知:
1、客戶如對產品有特殊要求,須在訂貨合同中提供以下說明:
|
|||||
|
|||||
2、本廠可根據客戶特定要求配置各類驅動裝置。
|
|||||
3、如由客戶提供確定的閥門類型和型號時,客戶應正確說明其型號的含義和要求,在供需雙方理解一致的條件下簽訂合同。
|
|||||
4、期貨、訂貨的客戶請先來電函詳細告訴所需的閥門型號、規格、數量以及交貨時間、地點,并按總的30%預定金或全額貨款及時匯入我廠賬戶, 其余貨款待發貨前匯入,以便及時安排發貨。
|
售中服務:
守信合同,及時供貨,隨時保持與客戶聯系。
對特殊或復制的產品,我廠安排技術人員對用戶進行產品使用、故障排除
售后服務:
1、“奇高”產品品質期為自出廠起12個月,實行“三包”服務(包退、包換、保修)。
2、產品在使用中我廠定期組織技術、質檢人員進行訪問,征詢用戶對產品質量、使用狀況、改進意見等方面的反饋,
以便進一步提高產品質量。
3、對用戶投訴質量問題,快速作出反應,售后服務人員在24-36小時(省外48小時)趕赴現場。
4、對售后服務,要求用戶填寫服務后的質量反饋信息表,并作出鑒定意見,以便提高“奇高”的服務質量。
聲明 |
|