H42X升降式底閥
- 銷售:021-32051999
- 銷售:021-32050777
- 傳真:021-66099555
詳情介紹
- 產品介紹
- 服務承諾
- 訂貨流程
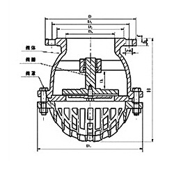
H42X升降式底閥安裝在水泵吸水管路的底端,能自動阻止流體倒流。
性能參數
型號 | 公稱壓力 | 試驗壓力 | 工作溫度℃ | 適用介質 | |
強度(水)MPa | 密封(水)MPa | ||||
H42X-2.5 | 0.25 | 0.4 | 0.25 | ≤50 | 水 |
主要零件材料
零件名稱 | 材料 |
閥體、閥蓋、閥瓣 | 灰鑄鐵 |
密封圈 | 橡膠 |
墊片 | 石棉板 |

主要外形尺寸
型號 | 公稱通徑DN(mm) | 尺寸(mm) | 重量(kg) | |||||||
D | D1 | D2 | b-f | Z-Φd | D0 | h0 | H | |||
H42X-2.5 | 50 | 140 | 110 | 90 | 16-3 | 4-14 | 135 | 17 | 142 | 4 |
65 | 160 | 130 | 110 | 16-3 | 4-14 | 168 | 25 | 180 | 6.5 | |
80 | 185 | 150 | 125 | 18-3 | 4-18 | 198 | 32 | 197 | 8.5 | |
100 | 205 | 170 | 145 | 18-3 | 4-18 | 247 | 40 | 230 | 143.5 | |
125 | 235 | 2500 | 175 | 20-3 | 8-18 | 272 | 43 | 270 | 18 | |
150 | 260 | 225 | 200 | 20-3 | 8-18 | 315 | 38 | 297 | 24 | |
200 | 315 | 280 | 255 | 22-3 | 8-18 | 405 | 65 | 382 | 38 | |
250 | 370 | 335 | 310 | 24-3 | 12-18 | 465 | 84 | 460 | 64 | |
300 | 435 | 395 | 262 | 24-4 | 12-23 | 510 | 90 | 530 | 98 | |
良好的品質、優良的服務 奇高為你創造更多價值!
“奇高閥門”的期望,不斷提升服務質量,精益求精,“真誠的服務”是“奇高”永恒的主題。“奇高”嚴格按照IS09001-2000 質量體系認證要求,質量嚴格把關, 責任到人,確保生產、銷售、服務的健康運行。加強與用戶溝通,竭誠為廣大客戶提供優良產品,貼心服務。特此我廠做出以下承諾:
產品標準:
產品嚴格按照中國GB、HG 標準和美國API等標準設計、制造、驗收。密封面硬度達到國家規定要求,寬度超過國家標準。
售前服務:
產品介紹,技術交流,非標產品設計,疑難解答。
售中服務:
守信合同,及時供貨,隨時保持與客戶聯系。 對特殊或復制的產品,我廠安排技術人員對用戶進行產品使用、故障排除
售后服務:
1、“奇高”牌產品品質期為自出廠起12個月,實行“三包”服務(包退、包換、保修)。
2、產品在使用中我廠定期組織技術、質檢人員進行訪問,征詢用戶對產品質量、 使用狀況、改進意見等方面的反饋, 以便進一步提高產品質量。
3、對用戶投訴質量問題,快速作出反應,售后服務人員在24-36小時(省外48小時)趕赴現場。
4、對售后服務,要求用戶填寫服務后的質量反饋信息表,并作出鑒定意見,以便提高奇高的服務質量。
1、客戶如對產品有特殊要求,須在訂貨合同中提供以下說明:
a、結構長度;
b、連接形式;
c、公稱直徑、全通徑、縮徑、管道尺寸;
d、運行介質及溫度、壓力范圍;
e、試驗、檢驗標準及其他要求
2、本廠可根據客戶特定要求配置各類驅動裝置。
3、如由客戶提供確定的閥門類型和型號時,客戶應正確說明其型號的含義和要求,在供需雙方理解一致的條件下簽訂合同。
4、期貨、訂貨的客戶請先來電函詳細告訴所需的閥門型號、規格、數量以及交貨時間、地點,并按總的30%預定金或全額貨款及時匯入我廠帳戶,其余貨款待發貨前匯入,以便及時安排發貨。
訂單流程:
1、客戶采購清單傳真至021-33872143,或來電咨詢 021-33872141
2、收到客戶采購清單,為客戶提供閥門型號選型與報價(價格清單)。
3、具體商定:交貨期、特殊要求等事宜。
訂貨須知:
1、客戶如對產品有特殊要求,須在訂貨合同中提供以下說明:
|
|||||
|
|||||
2、本廠可根據客戶特定要求配置各類驅動裝置。
|
|||||
3、如由客戶提供確定的閥門類型和型號時,客戶應正確說明其型號的含義和要求,在供需雙方理解一致的條件下簽訂合同。
|
|||||
4、期貨、訂貨的客戶請先來電函詳細告訴所需的閥門型號、規格、數量以及交貨時間、地點,并按總的30%預定金或全額貨款及時匯入我廠賬戶, 其余貨款待發貨前匯入,以便及時安排發貨。
|
售中服務:
守信合同,及時供貨,隨時保持與客戶聯系。
對特殊或復制的產品,我廠安排技術人員對用戶進行產品使用、故障排除
售后服務:
1、“奇高”產品品質期為自出廠起12個月,實行“三包”服務(包退、包換、保修)。
2、產品在使用中我廠定期組織技術、質檢人員進行訪問,征詢用戶對產品質量、使用狀況、改進意見等方面的反饋,
以便進一步提高產品質量。
3、對用戶投訴質量問題,快速作出反應,售后服務人員在24-36小時(省外48小時)趕赴現場。
4、對售后服務,要求用戶填寫服務后的質量反饋信息表,并作出鑒定意見,以便提高“奇高”的服務質量。
聲明 |
|